AOE视角下的太空版图:解码星链、国网、千帆的轨道博弈

卫星互联网的“太空低轨赛道”竞争异常激烈:国外有 SpaceX的星链强势领跑,国内有国网、千帆星座加速追赶。
想实时追踪三大星座的发射动态、在轨数量?打开太空地图即可一目了然——AOE国产轨道数据已收录各星座不同批次的组网信息,展现各颗卫星的位置与运行轨迹。
尽管所属组织不同,但星链、国网、千帆在核心布局上高度趋同,那就是押注低轨:

低轨部署成共识:三者的卫星大部分都是部署在 1200公里以下的低轨轨道。相比3.6万公里的高轨卫星,低轨卫星信号传输距离大幅缩短,即便在偏远山区、远洋海面等地面网络覆盖盲区,也能提供稳定通信服务。
规模化组网是核心:都走“万星星座”路线——星链规划4.2万颗、国网1.29万颗、千帆1.5万颗。毕竟高度决定视野,单颗低轨卫星覆盖范围有限,视野窄。唯有通过多卫星协同形成“太空通信网”,才能打破覆盖局限,实现全球无缝衔接。
抢占资源刻不容缓:低轨轨道槽位与频谱资源是“先到先得”的稀缺品,需通过国际电信联盟(ITU)备案,且立项7年内至少要有一颗卫星入轨,到第9年时要完成总规模的10%,12 年内完成 50%,14 年内实现全星座部署。
打开太空地图就能清晰发现,因启动时间、技术路线的差异,三大星座在轨道高度、组网规模和推进节奏上分化明显:
星链:主打“密集覆盖”,形成高密度网络,满足全球宽带服务的低时延需求。从进度看,截至2025年9月14日,星链累计发射300批,共9000多颗卫星,组网速度遥遥领先。



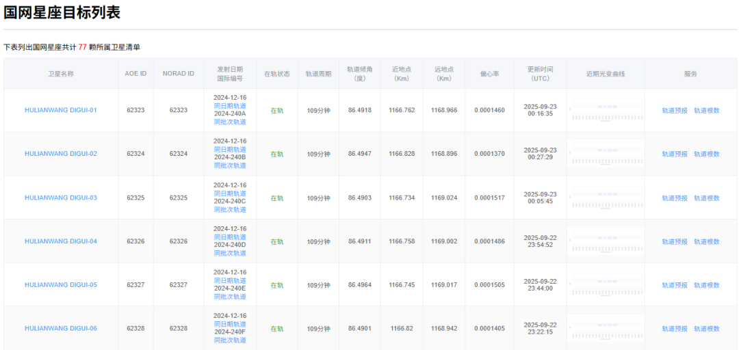
国网:采用“高低协同”分层设计,500公里以下低轨部署6080颗卫星,1145公里轨道部署6912颗卫星,兼顾国家战略与民用场景。截至2025年9月,累计发射10批,超70颗卫星。



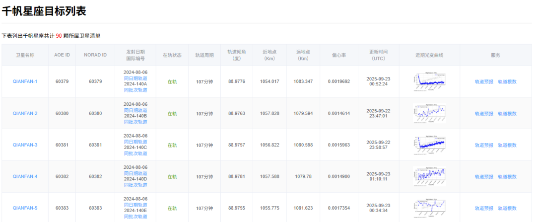
千帆:规划超过1.5万颗卫星,来提供多元业务融合服务。截至2025年9月,以“一箭十八星”方式发射 5 批次,共90颗卫星。



尽管星链当前领跑,但低轨卫星的竞争是场“马拉松”——随着中国火箭复用技术、卫星轻量化量产技术等技术的发展,国网与千帆的组网速度有望进一步加快,未来格局仍有变数。
无论如何,这场竞赛的最终目的,是为人类跑通一条 “太空信息高速公路”,低轨卫星互联网将成为未来“天地一体”通信网络的核心组成,支撑6G、工业互联网、低空经济等领域的爆发式增长。
未来,随着卫星数量激增,太空交通管理、轨道资源协调的复杂度也将大幅提升,数据基建的重要性愈发凸显。开运集团将持续关注三大星座的组网动态,丰富AOE国产轨道数据,完善太空交通管理基础设施,与行业伙伴共同奔赴“太空赋能万物” 的未来,助力大航天时代的强国建设。

欢迎访问Space Mapper-太空地图(spacemapper.cn)!在这里,您可以免费下载太空数据。现在访问,即刻解锁太空数据、轨道计算算法和太空数据仿真,扫描下方二维码即刻体验!(*建议使用PC端浏览效果更好~)



点击“阅读原文”,即可直接跳转官网!
(*建议使用PC端浏览效果更好~)